Copyright 2005 Frank Andrews — Glass HomeJohn Moncrieff Menu — Contact: Contact

DEUTSCHES REICH

German cypher - eagle AUSGEGEBEN AM
10.APRIL 1931

REICHSPATENTAMT

PATENTSCHRIFT

Nr 522499 KLASSE 32 a GRUPPE 5

M108762 VI/32a Tag der Bekanntmachung über die Erteilung des Patents: 19. März

John Moncrieff, Ltd. und Alexander Francis McNish in Perth, Schottland

Vorrichtung zum Erzielen einer Strömung oder Umlaufbewegung in der in einem Trog, Kanal oder Vorherd befindlichen Glasschmelze

Patentiert im Deutschen Reiche vom 15. Februar 1929 ab

Die Priorität der Anmeldung in Großbritannien vom 1.Juni 1928 ist in Anspruch genommen.


Die Erfindung bezieht sich auf eine Vorrich­tung zum Erzielen einer Strömung oder Umlaufbewegung in der in einem durch einen Deckel nach oben teilweise abgeschlossenen Trog, Kanal oder Vorherd befindlichen Glas­schmelze mittels eines auf und ab beweg­lichen, durch die Glasmasse hindurch geführten Treibe

Bei bekannten Vorrichtungen dieser Art war der Kanal stets ungenügend abgedeckt, weil die Bewegung des Treibers in dem Deckel eine sehr erheblich große Öffnung er­forderlich gemacht hat

Durch die große Öffnung ergibt sich aber der Nachteil, daß ein erheblicher Teil der Oberfläche des Glases in dem Vorherde der kühlenden Wirkung der Außenluft ausgesetzt wird. Dieser Nachteil wird durch die vor­liegende Erfindung vermieden.

Erfindungsgemäß ist der Treiber um eine unmittelbar über dem Deckel des Kanals oder Vorherdes angeordnete waagerechte, in ge­rader Linie senkrecht auf und ab bewegbare Drehachse schwingbar. Dadurch liegt die Schwingachse des Treibers dem Deckel so nahe, daß die seitliche Bewegung des Treibers in dem Deckel sehr gering ist und die Durchtrittsöffnung für den Treiber in dem Deckel sehr kleine Abmessungen bekommen kann. Die Öffnung wird hierbei so ausgeführt, daß sie den Treiber so eng wie möglich umschließt. Zweckmäßig wird sie konisch gestaltet, wodurch die Durchtrittsmöglichkeit für die Luft in den Vorherdkanal hinein noch weiter verringert wird.

Die Drehachse ruht in einem senkrecht geführten Schlitten, der seine Aufundabbewegung über eine zweckmäßig einstellbare am Schlitten angebrachte Rolle von einer mit einem Seitenstift in einen Schlitz des Treiberhalters eingreifenden Daumenscheibe er­hält. Der Treiber ist an dem waagerechten Schenkel eines umgekehrt L-förmig gestalteten Treiberhalters befestigt, dessen senkrechter Schenkel den waagerechten Drehzapfen trägt.

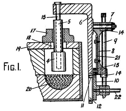
Auf der Zeichnung ist ein Ausführungsbei­spiel dargestellt. Abb. 1 ist ein senkrechter Teilschnitt, Abb. 2 eine Ansicht unter rech­tem Winkel dazu bei geschnittenem Vorherde, und Abb. 3 ist eine Aufsicht.

Der Treiber 4 sitzt mittels eines Schaftes 5 am Treiberhalter 6. Die Drehung vollzieht sich um einen Zapfen 7 am Treiberhalter 6. Der Zapfen ist in einem senkrecht geführten Schlitten 8, 14 gelagert, der durch eine um­laufende Daumenscheibe 10 hin und her bewegt wird. Der Treiberhalter 6 wird um den Zapfen 7 durch einen Stift 11 ausgeschwungen, der in einem Schlitz 12 des Trei­berhalters arbeitet.

Die Daumenscheibe 10 ist derart gestaltet, daß sie dem Treiber 4 den erforderlichen senkrechten Hub erteilt. Sie arbeitet mit einer Rolle 13 zusammen, die einstellbar oder sonstwie auf dem Schlitten 8, 14 angeordnet ist. Dieser wird durch feste senkrechte Führungsstangen 9 geführt, die durch je ein unteres und oberes Querhaupt 14 am Schlit­ten 8 treten. Der Ausschlag des Kurbelzapfens 11 bestimmt den Hub des Treibers 4 in waagerechter Richtung. Die Daumenscheibe 10 und der Zapfen 11 liegen so zueinander, daß der Treiber 4 zuerst in das Glas eintaucht, dann in einer Richtung um seinen Zapfen 7 ausgeschwungen wird, damit der Treiber durch das Glas in den Trog oder Vorherd wandert, und daß dann der Treiber4 aus dem Glas ausgehoben und schließlich um den Zapfen 7 zurückgeschwungen wird. Zweck­mäßig ist der Treiberhalter 6 umgekehrt L-förmig. Der kürzere waagerechte Schenkel hält die Kernstange 15 eines aus Ton oder sonstigem nicht brennbaren Stoffe bestehen­den Treibers, der durch eine kegelige Öff­nung 16 in einem Blocke 17 aus Ton oder son­stigem unbrennbaren Stoffe tritt. Dieser Block schließt die Öffnung 18 in dem Deckel 19 des Vorherdes 20 ab. Der senkrechte Schenkel des Treiberhalters 6 trägt kurz unter dem oberen Ende einen waagerecht hervor­tretenden Drehzapfen 7 und an seinem unteren Ende den senkrechten Schlitz 12, der mit dem auf einer Seite der Daumenscheibe 10 sitzenden Kurbelstift 11 zusammenarbeitet.

Die Rolle 13 kann auf dem Schlitten 8 ein­stellbar dadurch angeordnet sein, daß sie auf einer einstellbar am Schlitten 8 verbolzten Rückenplätte 21 sitzt. Die Daumenscheibe 10 sitzt auf einer Welle 22, die irgendwie in Umdrehung versetzt wird. Die Daumen-scheibe 10 gibt durch ihre Gestalt die gewünschte Hubhöhe und Eintauch-bewegung. 45 Die Einrichtung kann auch außerhalb des Vorherdes angeordnet sein, so daß der Treiberhalter über die Außenwand des Vorherdes hinüberhängt.

Patentansprüche:

  1. Vorrichtung zum Erzielen einer Strömung oder Umlaufbewegung in der in einem durch einen Deckel nach oben teilweise abgeschlossenen Trog, Kanal oder Vorherd befindlichen Glasschmelze mittels eines auf und ab beweglichen durch die Glasmasse hindurchgeführten Treibers, dadurch gekennzeichnet, daß der Treiber (4) um eine unmittelbar über dem Deckel des Kanals oder Vorherdes ange­ordnete waagerechte, in gerader Linie auf und ab bewegliche Drehachse (7) schwing­bar ist, so daß die mit ihrem oberen Rand den Treiber so eng wie möglich umschließende Öffnung in dem Deckel, durch die der Treiber hindurchtritt, nach unten konisch erweitert ausgebildet werden muß.

  2. Vorrichtung nach Anspruch 1, da durch gekennzeichnet, daß die Drehachse (7) in einem senkrecht geführten Schlitten (14) ruht, der seine Aufundabbewegung über eine zweckmäßig einstellbar am Schlitten angebrachte Rolle (13) von einer mit einem Seitenstift (11) in einem Schlitz (12) des Treiberhalters (6) eingreifenden Daumenscheibe (10) erhält.

  3. Vorrichtung nach Anspruch 1 und 2, dadurch gekennzeichnet, daß der Treiber (4) an dem waagerechten Schenkel eines umgekehrt L-förmig gestalteten Treiber halters (6) befestigt ist, dessen senkrechter Schenkel den waagerechten Drehzapfen (7) trägt.
Moncrieff Patent 320033 figure 1

Fig. 1 is a vertical sectional view.

Moncrieff Patent 320033 figure 2

Fig. 2 is a view at right angles thereto, showing the forehearth in section.

Moncrieff Patent 320033 figure 3

Fig. 3 is a plan view.

BERLIN. GEDRUCKT IN DER REICHSDRUCKEREI

 

Back to previous page